Hydraulik-Hochdruckschläuche
max. Betriebsdruck 250 / 500 bar
Einsatz
Hochdruckschläuche werden zur Energie- und Signalübertragung in Hydraulikanlagen verwendet. Dies gilt vor allem für den Anschluss beweglicher Elemente, aber auch für die Verbindung von hydraulischen Baugruppen, die nicht auf einer gemeinsamen Basis befestigt sind, z. B. Pumpenaggregat und Spannvorrichtung.
Schlauchaufbau
Hochdruckschläuche bestehen je nach Betriebsdruck und Nennweite aus einer oder mehreren Lagen Draht- oder Textilgeflecht bzw. Spiraleinlagen.
1: Innenschicht
2: Einlage
3: Außenschicht
4: Schlauchwand
5: Zwischenschicht
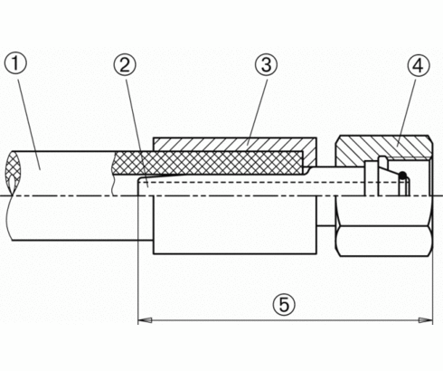
Schlauchverbindung
Anschlussfertig wird der Hochdruckschlauch erst durch die an beiden Enden fest verpresste Schlaucharmaturen.
1: Schlauch
2: Nippel
3: Fassung
4: Überwurfmutter
5: Schlaucharmatur
Lebensdauer Einbauhinweise
Die Verwendungsdauer einschließlich Lagerdauer soll 6 Jahre nicht überschreiten, die reine Lagerdauer 2 Jahre. Hohe Temperatur, häufige Bewegungsspiele oder hohe Impulsfrequenzen können die Verwendungsdauer verkürzen.
Wartung
Vor Inbetriebnahme und dann mindestens ein mal jährlich die Hochdruckschläuche auf ihren arbeitssicheren Zustand durch einen Sachkundigen prüfen lassen.
Kennzeichnung Schlauch
Auf dem Schlauch befindet sich folgende Kennzeichnung:
- Name oder Kennzeichen des Herstellers
- Nummer der europäischen Norm
- Typ
- Nenndurchmesser
- Quartal und die zwei letzten Ziffern des Herstellungsjahres
Kennzeichnung Armatur
Auf der Armatur befindet sich folgende Kennzeichnung:
- Name oder Kennzeichen des Herstellers
- Monat der Herstellung
- die zwei letzten Ziffern des Herstellungsjahres
- Nenndruck PN der Schlaucharmatur
- Bestell-Nr. des kompletten Hochdruckschlauches
Wichtige Hinweise
Wir liefern ausschließlich komplett verpresste Hochdruckschläuche mit montierter Überwurfmutter. Rohrstutzen mit losem Schneidring und Überwurfmutter sind aus Sicherheitsgründen nicht mehr zulässig.
Nutzen Sie die kostenlosen Vorteile unseres Login-Bereichs:
- Download von CAD-Daten
- Download von Betriebsanleitungen
Willkommen zurück! Melden Sie sich in Ihrem bereits bestehenden Benutzerkonto an.


