Contatto
Serie
B1.8271

Mini elementi di bloccaggio compatto

Versione a incasso, forza di bloccaggio 1,3 kN
a doppio effetto, pressione max. d’esercizio 200 bar
Mini elementi di bloccaggio compatto
Downloads
Tabella di catalogo
Istruzioni per l’uso
Informazioni serie
Descrizione
B 1.8271 Mini elementi di bloccaggio compatti

Impiego
I mini elementi di bloccaggio compatti sono impiegati nelle attrezzature di bloccaggio idrauliche con adduzione olio nel corpo tramite canali forati. Il mini elemento di bloccaggio compatto, grazie al diametro ridotto del corpo di soli 22 mm, può essere inserito in posizioni nella quali fino ad oggi non era disponibile uno spazio sufficiente per un elemento di bloccaggio idraulico. Nel caso di attrezzature a bloccaggio multiplo la distanza minima tra i cilindri è di 28 mm. Nel pezzo è sufficiente una nicchia, un poco più larga della leva di bloccaggio.
Casi tipici d'impiego sono i seguenti:

  • Attrezzature di bloccaggio per pezzi piccoli e sensibili alle deformazioni.
  • Attrezzature multiple di bloccaggio con molti pezzi posizionati a stretto contatto.
  • Attrezzature di montaggio
  • Elementi di bloccaggio per la lavorazione completa e su più lati
  • Attrezzature di bloccaggio a ponte in macchine per la lavorazione orizzontale e verticale


Descrizione
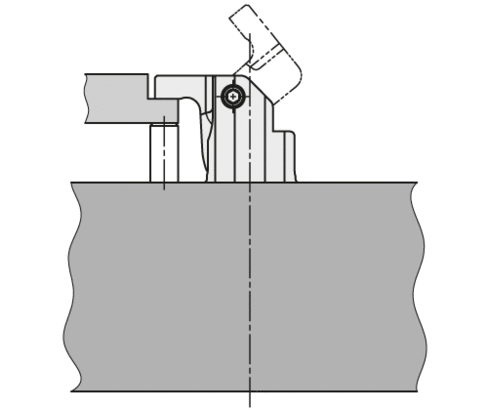
Il mini elemento di bloccaggio compatto idraulico è un cilindro traente a doppio effetto, nel quale una parte della corsa lineare viene utilizzata per retrarre la leva di bloccaggio sul pezzo. Per ridurre al minimo le dimensioni manca la flangia normalmente presente per il fissaggio delle viti. Al suo posto 2 elementi di fissaggio si incastrano in una scanalatura radiale nel foro d'incasso. Durante il montaggio questi elementi di fissaggio vengono allargati in direzione radiale dalle spine filettate accessibili dall'alto. La forza di bloccaggio assiale viene assorbita senza gioco e con accoppiamento di forma.
Il mini elemento di bloccaggio compatto può essere ruotato di 360° nel foro d'incasso.

Mini elemento di bloccaggio compatto B 1.8271
Mini elemento di bloccaggio compatto B 1.8271
Video
Articoli accessori (3)
No. ord. Files CAD Descrizione
No. ord.
Files CAD
Descrizione
Corpo di collegamento per mini elemento di bloccaggio compatto 1800-110 raccordo filettato G 1/8 pressione max. d'esercizio 200 bar secondo tabella di catalogo B1.8271
No. ord.
Files CAD
Descrizione
O-ring 8 x 1,5 mm, NBR secondo tabella di catalogo B1.5091
No. ord.
Files CAD
Descrizione
Protezione in plastica per M6 secondo tabella di catalogo B1.853
Caricamento in corso…
Esempi d'impiego
Mini elemento di bloccaggio compatto B 1.8271

Bloccaggio di un pezzo in ghisa

Mini elemento di bloccaggio compatto B 1.8271
Mini elemento di bloccaggio compatto B 1.8271